當多臺大小不一樣的冷卻塔連接起來時,塔中水位線不一樣高,水盤低的塔必定溢流,那麼,多臺冷卻塔進出水管上設電動閥必須特別注意哪幾個問題呢?今天,無錫閉式冷卻塔生產廠家佳禾冷卻就來教大家如何在多臺冷卻塔進出水管上設置電動閥。
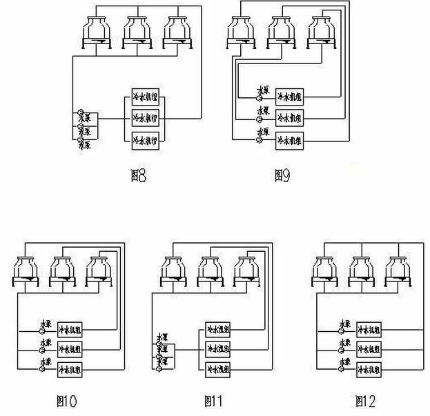
多臺冷卻塔工作示意圖:

圖9管線布局最錯綜復雜,占有空間大,但流量劃分合理,運轉可靠性高。圖8、10、11管線布局簡潔明了,可是,常有溢流和補水問題,首要緣故是:
1、通常在塔的進水管上裝上電動閥,而出水管上未裝,不運轉的塔進水閥關掉,但出水管連通。當單臺運轉時,用的那臺冷卻塔水盤中水位升高,造成溢流,而別的不運轉的塔的水盤則不斷的補水。
2、各塔水流量劃分不均衡,關鍵是管路布局問題,有的塔進水管道阻力小,出水管道阻力大;進水多出水少,導致溢流。有的塔則相反,不斷的補水。
在工程項目上,多臺冷卻塔并聯運作時,配管方式通常有5種方法。
冷卻塔系統規范要求選服務器時要盡可能保證大小搭配,便于適應負荷的轉變,但這時候冷凝器、水泵、冷卻塔相互連接就很麻煩了。
基于所述難題,設計方案時要特別注意平衡問題,包含水位平衡和水量平衡,一般對于合流進水方法,采用下列幾種對策:
1、針對圖8,每臺冷卻塔的進出水管上設電動閥,并與水泵和冷卻塔風機連鎖操縱。
2、針對圖8,10,11,各冷卻塔(包含尺寸不一樣的塔)水位操縱在相同高度,高差不宜大于30mm。在各塔相互間安裝平衡管,并擴大出水管的共用管段的管徑。
3、針對圖8,11,為平衡各冷水機組水量,可在各臺冷水機組出水口設平衡閥。圖12管線擺放簡單,系統流量也易均衡。

以上就是關于如何在多臺冷卻塔進出水管上設置電動閥的全部內容了,如果你還想了解更多關于逆流閉式冷卻塔、橫流閉式冷卻塔等閉式冷卻塔選型方面內容,歡迎大家前往無錫佳禾冷卻進行了解。